Coriolis mass flowmete L-Cryogenic Series
RM-CMASS040LU LNG
Advanced Coriolis Technology for Extreme LNG Environments
Coriolis mass flowmete L-Cryogenic Series
RM-CMASS040LU LNG
Advanced Coriolis Technology for Extreme LNG Environments
|
Features |
Description |
|
|---|---|---|
|
MODEL |
RM-CMASS040 / RM-CMASS040 /RM-CMASS080 |
|
|
Power Supply |
220VAC/24VDC Self-adaption |
|
|
Output signal |
Hart,4 to 20mA current loop active, |
|
|
Display;Operate |
3-line backlight; Touch key control |
|
|
Protection grade |
IP66,IP67 | |
| Housing material | 304 stainless steel, ZL401 (Transmitter) | |
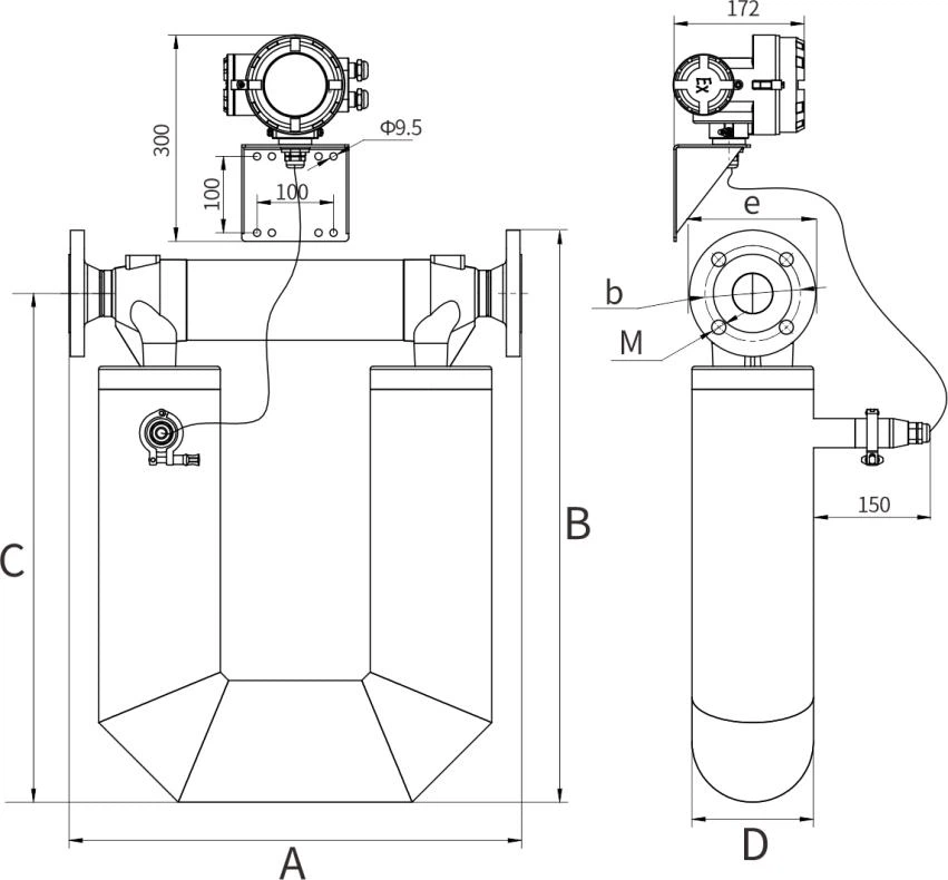
| Electrical connection | 1/2 NPT,M20*1.5 | |
| Measuring Tube Material; Wetted Parts Surface Finish |
316L (default), titanium/Ha C alloy/ tantalum (optional); polishable. |
|
| Process connection | Thread | |
| Accuracy | ±0.1%,±0.15%, ±0.2%, ±0.5 %, ±1.0% | |
| Transmitter software | CLS100 (default), optional CLS200, CLS300 | |
| Other certifications | Explosion proof certificate, SIL, CCS, 3-A, EAC |
Typical Application Scenarios
• Unloading measurement and tank turnover at LNG receiving terminals
• Large-scale vehicle or ship bunkering at LNG refueling stations
• Custody transfer and trade measurement at liquefaction plants
• Leak detection and inventory management in cryogenic storage tanks
• Flow control of cryogenic media (e.g., liquid nitrogen, liquid oxygen) in chemical processes